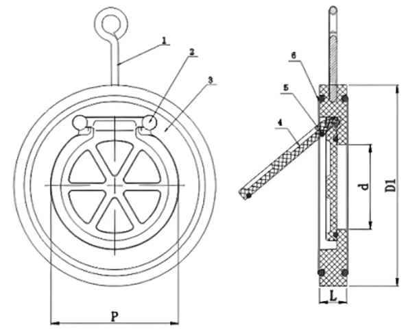
A Wafer Type Check Valve is a non-return valve that allows one-directional flow and automatically closes to prevent backflow when fluid reverses. Its compact, flangeless design makes it ideal for space-constrained piping systems.
Compact structure: The wafer check valve has a short structural length, small volume and light weight. This compact design makes it particularly suitable for installation in plumbing systems with limited space.
Easy to install: The wafer check valve can be clamped directly between two flanges without the need for additional connecting bolts or supports, and it is quick to install at a low cost. This design not only simplifies the installation process of upvc valves, but also saves installation space and time.
Low flow resistance: Its structural design reduces the resistance of fluid flow, enabling the fluid to pass smoothly through. This design makes the wafer check valve perform well in fluid control, especially in applications that require high flow and low pressure loss.
Quick response: The disc closes quickly with low water hammer pressure, which enables it to respond to backflow immediately and prevent loss or damage caused by reverse flow of the medium. This fast response feature makes wafer check valves excel in protecting piping systems from pressure fluctuations and backflow of medium.
Good sealing performance: The precise fit between the disc and the seat, combined with high-quality sealing materials, ensures zero leakage of the valve in the closed state and maintains good sealing even under high pressure difference conditions. This high sealing performance ensures that the medium does not backflow, protecting the safety of the piping system.
Technical Parameter
Size: 2"~12"
Prssure Rating: PN10
Standard: Suit for DIN/ANDI/JIS
