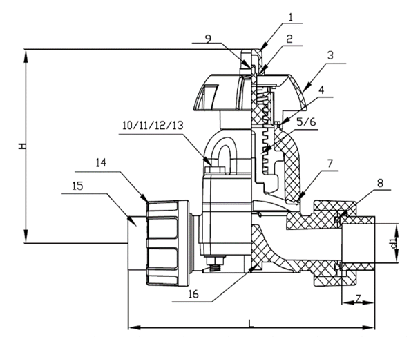
A corrosion-resistant valve using a flexible diaphragm for precise flow control in high-temperature applications (up to 93°C). Its true union design enables easy maintenance without pipe cutting, ideal for chemical processing where CPVC's enhanced acid/alkali resistance. The diaphragm isolates fluids to prevent contamination in hygienic systems.
Diaphragm valve uses a high quality sealing material, exhibiting lower compressive strain, for its diaphragm and cushion, resulting in optimum sealing performance.
Diaphragm valve is designed so that pressure is distributed evenly, this design allows the hand wheel torque be reduced and maintain shut off at lower torque.
Strict control of the processing and assembly process. The flow adjustment is more stable and accurate.
Diaphragm valve structure has no dead angle, no pollution to the medium, strong corrosion resistance and excellent internal sealing performance.

