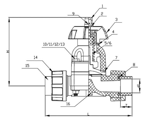
A diaphragm valve is a linear motion valve that uses a flexible diaphragm to regulate, start, or stop fluid flow. The PPH True Union Diaphragm Valve shares these structural characteristics while offering enhanced chemical and thermal resistance due to its polypropylene homopolymer (PPH) construction.
Diaphragm valve uses a high quality sealing material, exhibiting lower compressive strain, for its diaphragm and cushion, resulting in optimum sealing performance.
Diaphragm valve is designed so that pressure is distributed evenly, this design allows the hand wheel torque be reduced and maintain shut off at lower torque.
Strict control of the processing and assembly process. The flow adjustment is more stable and accurate.
Diaphragm valve structure has no dead angle, no pollution to the medium, strong corrosion resistance and excellent internal sealing performance.
Technical Parameter
Size: 1/2 " (DN15)~4 "(DN100)
Socket: DIN/ANSI/JIS/CNS
Thread: PT/NPT/BSPT

